Nos réalisations et projets
Projet Collaboratif Epicub – DAPE
Projet Collaboratif Epicub – DAPE
Développer l’Automatisation de la Conception de l’Electronique de Puissance
Proposer une alternative à la conception classique en électronique de puissance
Le projet développe une méthode qui tend à automatiser la conception et fabrication de convertisseurs de puissance : les filières technologiques de puissance
Les filières technologiques sont inspirées de la microélectronique. Elles structurent les possibilités de conception en standardisant tous les éléments interfaçable dans un convertisseur de puissance.
L’approche réseaux de convertisseurs se nourrit de cette idée et se veut une alternative à la conception classique en électronique de puissance. Au delà d’être une alternative, l’approche s’inscrit dans l’optique de l’automatisation de conception en électronique de puissance (Design Automation for Power Electronics – DAPE).
Par cette approche, un convertisseur devient une association statique ou dynamique d’un nombre plus ou moins important de briques de conversion élémentaires.

Théo Lamorelle (2019), Ingénieur Doctorant
Ce projet s’inscrit dans le cadre d’un contrat de collaboration entre MAATEL et le G2Elab. Ce projet est encadré par Jean-Christophe Crébier (CNRS), Yves Lembeye (G2Elab) et Jean-Christophe Podvin (Maatel).
L’étudiant en thèse Théo Lamorelle, via le lien entre ces deux entreprises, construit le projet « Développement de filières technologiques pour l’électronique de puissance ».

Développer des filières technologiques
Une filière technologique de puissance intègre et met en œuvre un nombre fini et figé de composants et logiciels via un processus technologique collectif défini, figé et fiabilisé pour répondre aux besoins d’un champ applicatif. Elle est caractérisée par un DRM (Design Rules Manual) et un PDK (Process Design Kit).
La phase de conception choisit le nombre de motifs élémentaires à mettre en œuvre et leurs associations, génère des fichiers de fabrication (gerbers, BoMs, firmware, …). La phase de fabrication est alors lancée et on obtient un convertisseur de puissance.
Les convertisseurs appelés « réseaux de convertisseurs » issues d’une filière technologique peuvent être représentés sous une vision « power electronics building block » (PEBB).
Décomposition par bloc d’un réseau de convertisseurs dans une vision PEBB
L’approche PEBB classique présente généralement un motif répété dans des projets d’ingénierie qui tend à être optimisé pour une fonction donnée afin de le considérer comme un composant.

La figure ci-dessus présente les différents blocs qui sont majoritairement présent dans un convertisseur de puissance. La différence majeure avec l’esprit PEBB est que le souhait du projet est de dimensionner et d’optimiser l’ensemble de ces blocs sachant qu’ils fonctionnent ensemble. »
L’étage de puissance est une interconnexion de « Cellules Standards de Conversion » CSCs dans une configuration donnée (série ou parallèle | entrée et sortie). Cette partie présente l’interconnexion théorique de CSCs.

Les possibilités de configuration :
- PIPO – Parallel Input Parallel Output :
- Interconnexion parallèle des CSCs en entrée
- Interconnexion parallèle des CSCs en sortie
- SISO – Series Input Series Output :
- Interconnexion série des CSCs en entrée
- Interconnexion série des CSCs en sortie
- PISO – Parallel Input Series Output :
- Interconnexion parallèle des CSCs en entrée
- Interconnexion série des CSCs en sortie
- SIPO – Series Input Parallel Output :
- Interconnexion série des CSCs en entrée
- Interconnexion parallèle des CSCs en sortie
Le mise en réseau d’une quantité « n » de CSCs permet d’atteindre des cahiers des charges électriques en tension / courant différents en fonction de la configuration. La mise en parallèle permet d’augmenter le calibre en courant tandis que la mise en série augmente le calibre en tension.

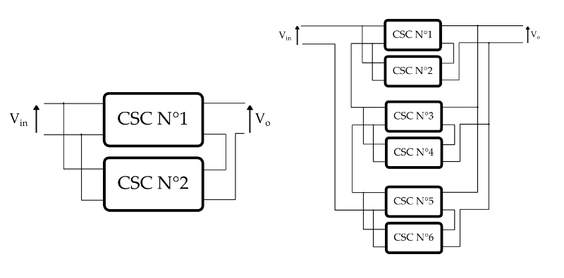
Exemple de deux CSCs configurées en PISO (gauche) et un exemple avec une configuration 2 PISO – 3 SIPO
Les CSCs et leurs interconnexions ont été optimisées pour pouvoir fonctionner ensemble et assouvir un maximum de cahier des charges.
Cela permet de déplacer la contrainte de cahier des charges électrique par un fichier de placement de clips sur les CSCs.
Pour un même PCB avec (CSCs + CSTs), différentes configurations (calibre tension / courant) se traduisent par des placements de clips différents. C’est la standardisation qui permet d’atteindre ce stade.

Exemple physique d’une CSC et d’un agencement
Cette filière technologique propose
CONVERSION |
|
PUISSANCE |
|
REFROIDISSEMENT |
|
RENDEMENT GLOBAL |
|
DENSITE DE PUISSANCE |
|
DOMAINE |
|
Expérience industrielle
Compétences techniques
Procédés technologiques
Support logistique & financier
Références
- Andreta et al, « Contribution à la conception automatique de convertisseurs statiques modulaires”, SGE, Juin 2018, Nancy
- Lamorelle, A. Andreta, Y. Lembeye, J.-C. Crébier and J.-C. Podvin, « Design level power electronics building block: Industrial framework for DC-DC conversion, » 2018 IEEE International Conference on Industrial Technology (ICIT), Lyon, France, 2018, pp. 670-675.
- Projet Epicub : https://www.lessor38.fr/epicub-apporte-de-la-modularite-aux-convertisseurs-electriques-19389.html

